Sebastiaanskerk
Object
- naam gebouw
- Sebastiaanskerk
- Rijksmonumentnummer
- 9465
- algemene beschrijving muurschilderingen
- nl Beschildering Ca. 1250 ornamentale gewelfbeschildering met figurale elementen (1-2), 2de helft 14de eeuw figurale gewelfbeschildering (3-5, 7), 2de helft 15de eeuw nieuwe figurale beschildering (7-8). Bij restauratie 1949-1950 vooral de Maiestas Domini sterk aangevuld. (bron:Q122982902)
- dit gebouw elders, url of uri
- http://www.wikidata.org/entity/Q2004595
- https://www.reliwiki.nl/index.php?title=Bierum,_Kerkstraat_2_-_Sebastiaankerk
- https://www.groningerkerken.nl/nl/kennisbank/kerken/B/99/bierum-sebastiaankerk
- https://monumentenregister.cultureelerfgoed.nl/monumenten/9465
- plaats waarin het gebouw ligt
- Bierum
- Heeft huidige functie
- Kerk / Protestantse Kerk
- Type verwarming
- cv
- Type verwarming sinds (jaartal)
- 2019
- Ingevoerd door
- Nanon OUOU
- gebouw beschreven in bron
- Het kleurenschema van de middeleeuwse kerkinterieurs van Groningen
- Groninger kerken en hun schilderingen
- Alle middeleeuwse kerken. In Groningen en Drenthe
- Bouwgeschiedenis
- Aan gereduceerd westwerk uit begin 13de eeuw voor 1247 eenbeukige kerk met koepelvormige gewelven en inspringende absis aangebouwd. Absis in 2de helft 14de eeuw vervangen door driezijdig gesloten koor.
- Restauratiegeschiedenis
- 1949-1950 1e restauratieperiode, omvangrijk ivm oorlogsschade. 2019 conservatie schilderingen en herstel bevingsschade. (bron:Q122982902)
- Schadegeschiedenis
- Oorlogsschade: herstellingen met cement, blijvend spanningsverschil tussen verschillende materialen. Bevingsschade: scheuren en onthechting. Zoutbelast opgaand muurwerk, optrekkend- en doortrekkend vocht.
- Collecties
- Groningse kerken
Gelinkte objecten
| Titel | Klasse |
|---|---|
Sebastiaanskerk |
Rijksmonument |
| Titel | Klasse |
|---|---|
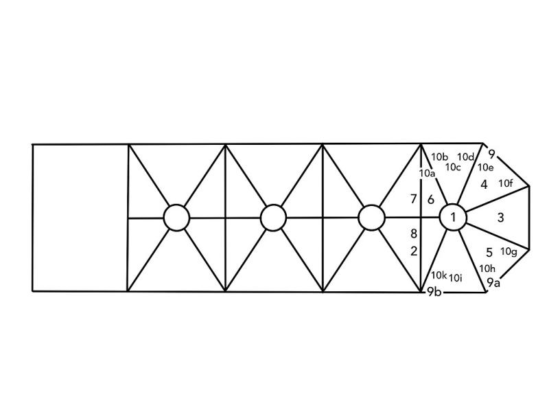
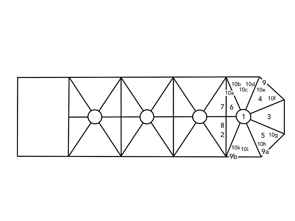
1 Decoratieve patronen in sluitring. |
Painting |
10a. Decoratieve cirkel |
Painting |
10b. Decoratieve cirkel |
Painting |
10c. Decoratieve cirkel |
Painting |
10d. Decoratieve cirkel |
Painting |
10e. Decoratieve cirkel |
Painting |
10f. Decoratieve cirkel |
Painting |
10g. Decoratieve cirkel |
Painting |
10h. Decoratieve cirkel |
Painting |
10i. Decoratieve cirkel |
Painting |
10j. Decoratieve cirkel |
Painting |
10k. Decoratieve cirkel |
Painting |
2 Gedeelte van een dier (mogelijk leeuw). ca. 1250 |
Painting |
3 Maiestas Domini; de namen van de vier evangelisten slechts fragmentarisch bewaard gebleven. |
Painting |
4 Catharina van Alexandrië met rad |
Painting |
5 Maria met Kind. |
Painting |
6 Kroning van Maria |
Painting |
7 Gregorius de Grote |
Painting |
8 Sebastiaan; fabeldier van 14de-eeuwse beschildering. |
Painting |
9 Wijdingskruis |
Painting |
9a. Wijdingskruis |
Painting |
9b. Wijdingskruis |
Painting |
| Titel | Klasse |
|---|---|
| Restauratie Sebastiaanskerk in 1948 - 1950 | Restauratie |
| Restauratie Sebastiaanskerk in 2019 | Restauratie |
Item: Sebastiaanskerk























