Stefanuskerk
Object
- Uniek ID
- RM9474
- naam gebouw
- Stefanuskerk
- Rijksmonumentnummer
- 9474
- algemene beschrijving muurschilderingen
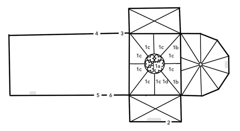
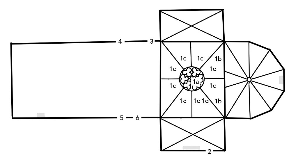
- nl Ca. 1300 ornamentale beschildering gewelf viering en dwarspand; 1463 nieuwe ornamentale beschildering vieringgewelf op witte pleisterlaag (spitsbogen, driepassen, enz.) met opschrift (1b); 1ste kwart 16de eeuw: nieuwe decoratie (bloem- en plantmotieven) en figurale beschildering vieringgewelf, zuiderdwarspand en schip (2,3). Ca. 1570: fragmenten van figuraal en decoratief schilderwerk op vieringgewelf bewaard gebleven (1d en 4). (bron:Q122982902)
- dit gebouw elders, url of uri
- http://www.wikidata.org/entity/Q2286598
- https://www.reliwiki.nl/index.php?title=Holwierde,_Kerkpad_1_-_Stefanuskerk
- https://www.groningerkerken.nl/nl/kennisbank/kerken/H/97/holwierde-stefanuskerk
- https://nl.wikipedia.org/wiki/Kerk_van_Holwierde
- https://www.delpher.nl/nl/kranten/view?coll=ddd&identifier=ddd:010761958:mpeg21:a0045
- https://monumentenregister.cultureelerfgoed.nl/monumenten/9474
- plaats waarin het gebouw ligt
- Holwierde
- Heeft huidige functie
- Cultureel en maatschappelijk
- Ingevoerd door
- Aafje OUOU
- gebouw beschreven in bron
- Het kleurenschema van de middeleeuwse kerkinterieurs van Groningen
- Groninger gedenkwaardigheden : teksten, wapens en huismerken van 1298-1814
- Groninger kerken en hun schilderingen
- Alle middeleeuwse kerken. In Groningen en Drenthe
- Bouwgeschiedenis
- Tufstenen kerk met inspringend koor uit 11de eeuw in 3de kwart 13de eeuw in baksteen verhoogd, ca. 1300 dwarspand en nieuw koor. Restauratie 1945-1950.
- Restauratiegeschiedenis
- In 1834 was de onderhoudstoestand van de kerk zo slecht dat de stenen gewelven van het schip werden vervangen door een houten zoldering, terwijl de gewelven in de viering transepten en in het koor steeds meer gestut moesten worden. De muren werden toen wit gepleisterd en gewit, de muurschilderingen verdwenen erachter. In de laatste dagen van de Tweede Wereldoorlog heeft de kerk flink te lijden gehad onder het oorlogsgeweld. In de jaren 1945–1950 werd de kerk door architecten Adriaan Wittop Koning en Rienk Offringa naar de gedachten van die tijd 'teruggebracht in oorspronkelijke stijl'. De schilderingen werden hierbij gerestaureerd door Gerhard Jansen.
- Schadegeschiedenis
- Door de ligging van de kerk heeft het gebouw zeker verschillende watervloeden doorstaan waardoor er een verhoogd zoutgehalte aanwezig is in de muren. In het verleden is er veel scheurvorming ontstaan door o.a. verzakkingen. De schipgewelven moetsen hierdoor zelfs worden afgebroken en vervangen voor een houten gewelf. De rest van de kerk heeft men moeten voorzien van stut en trekbalken. Sinds de jaren'80 heeft het gebouw te lijden door aardbevingen als gevolg van de gaswinning. Het vele cement wat tijdens vorige restauraties in het gebouw is beland (vooral op bijna alle wanden) heeft een ongunstig effect op de vochttransporten.
- Collecties
- Groningse kerken
Gelinkte objecten
| Titel | Klasse |
|---|---|
| Restauratie Stefanuskerk in | Restauratie |
| Restauratie Stefanuskerk in 1945 - 1950 | Restauratie |
Item: Stefanuskerk











