Hippolytuskerk

Object

Uniek ID
RM29894
Hippolytuskerk
naam gebouw
Hippolytuskerk
Rijksmonumentnummer
29894
algemene beschrijving muurschilderingen
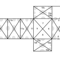
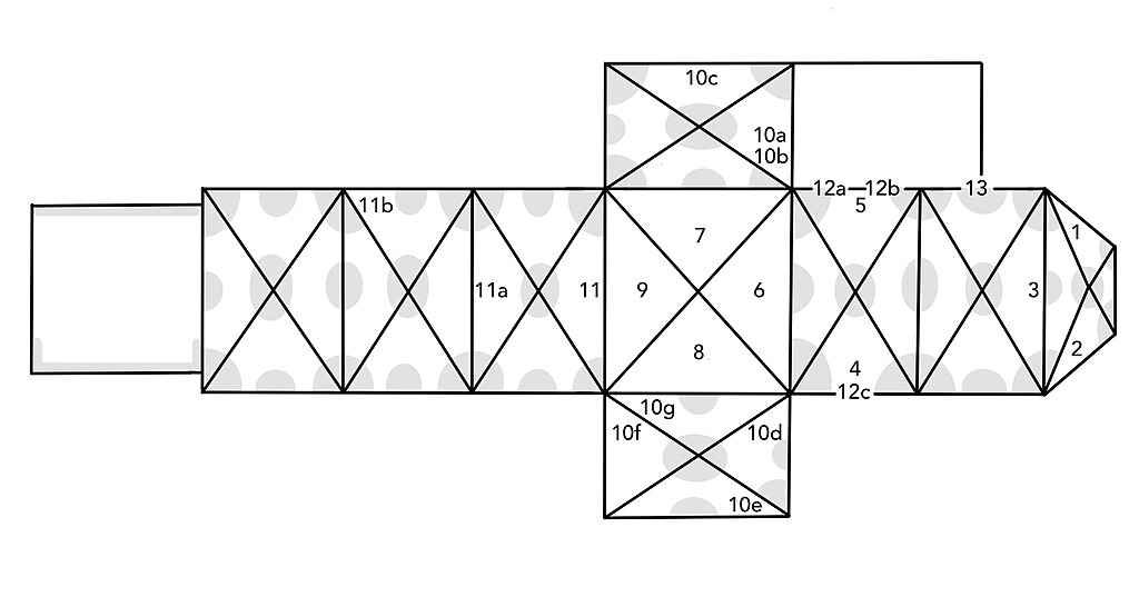
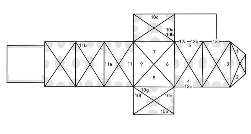
nl Natuursteen-imitatie in geel, in noordelijk dwarspand in grijs, wijdingskruisen, ornamentale en figuratieve schilderingen ca. 1535 (1-11), opmerkelijk vroeg voorkomen van renaissancistische putti in overigens nog overwegend laat-gotisch ornament, waarin verder dierfiguren voorkomen, knol-achtig motief verwant aan schilderingen in Martinikerk, Groningen, ca. 1520-1530, figurale en ornamentale beschildering beide koor- wanden - meeste voorstellingen niet geïdentificeerd - 2de helft 16de eeuw (12); teksten begin 17de eeuw (13). Vanaf 1879 gedeeltelijke blootlegging der schilderingen, eerste restauratie 1917. (bron:Q122982902)
plaats waarin het gebouw ligt
Middelstum
Heeft huidige functie
Kerk / Hervormde kerk
Ingevoerd door
Nanon OUOU
Bouwgeschiedenis
Schip, toren en zuiderdwarspand 1446-1487; 1ste kwart 16de eeuw noorderdwarspand toegevoegd. Restauratie 1976-1981.
Restauratiegeschiedenis
1879, 1916 en 1941, ontdekking en restauratie van aantal gewelfschilderingen. 1976-1981 blootleggen en restauratie gewelf- en muurschilderingen. 2022 conservatie schilderingen en herstel bevingsschade.
Schadegeschiedenis
Schade in metselwerk gewelf hersteld met cement. Spanningsverschillen tussen verschillend materiaalgebruik (cement, kalk). Materiaalverlies in zwikken door vochtinwerking. Bevingsschade: scheuren en onthechting pleisterwerk. 
Collecties
Groningse kerken

Gelinkte objecten

Objectenmet "Uniek ID:Hippolytuskerk"
Titel Klasse
Hippolytuskerk Rijksmonument
Objectenmet "gebouw waarin muurschildering zich bevindt:Hippolytuskerk"
Titel Klasse
1 uil  Painting
10a ongeïdentificeerde scène 'liefdespaartje' Painting
10b ongeïdentifeerde scène 'fragment figuur met banderol en vogels'  Painting
10c ongeïdentifeerde scène '2 figuren in bloemrank'  Painting
10d ongeïdentifeerde scène 'figuur komende uit bloemrank'  Painting
10e ongeïdentificeerde scène 'figuur met hoed'  Painting
10f ongeïdentificeerde scène 'nar met vrouw en vogel'  Painting
10g ongeïdentificeerde scène 'fragment tekstbanderol'  Painting
11 Zondeval; signatuur: Allett Oetteijt f[ecit]' Painting
11a bloemrank met bijschrift 'anno 1612'  Painting
11b fragment bloemrank met eend in een pot  Painting
12a ornamentschildering Painting
12b Salvator Mundi Painting
12c man van smarten (?) Painting
13 commemoratieve opschriften tegen achtergrond van twee monochroom geschilderde rouwborden Painting
2 vermoedelijk adelaar  Painting
3 pelikaan, putti met wijnranken  Painting
4 putto op draak  Painting
5 putto met lans  Painting
6 Laatste Oordeel met bazuinende engelen, Deësis  Painting
7 hemelgebouw met renaissancistische balusters en rustica-blokken  Painting
8 hel Painting
9 pinksteren Painting
Objectenmet "het gebouw:Hippolytuskerk"
Titel Klasse
Restauratie Hippolytuskerk in 1879 Restauratie